اشتراک گذاری





ارسال تا 7 روز کاری(پس از دریافت در کشور مبدا)
اصالت کالا(100% ارجینال)
پشتیبانی 24 ساعته(7 روز هفته به صورت 24 ساعته)
در حال بروزرسانی قیمت
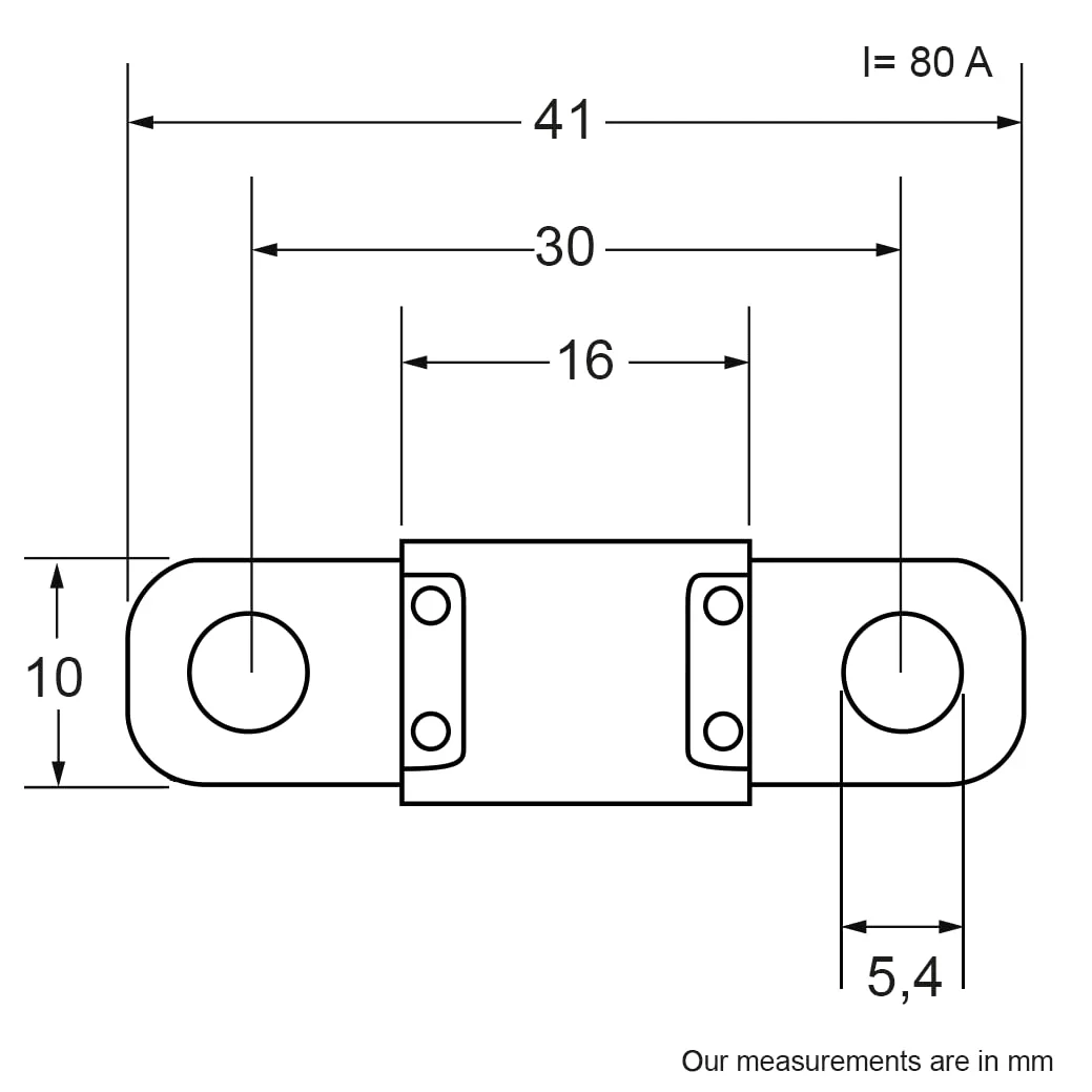
راه حلی برای نصب در کاربردهای خودرویی و صنعتی. ساخته شده از مواد با کیفیت بالا، بادوام و ماندگار است. مشخصات فنی: I3: 41mm، I4: 10mm، x: 30mm، D1: 5.4mm، L: 16mm. مطابق با سازنده: Renault: 8200895556, PSA spare parts: 6500AS, PSA spare parts: 6500GY, PSA spare parts: 6500S1, PSA spare parts: 9665408380, Audi: N10525505, Volkswagen: N10525255. 505, Volkswagen: WHT001212, Fiat: 10404290, FORD: 2S6T14A094FA